[advertisement]
Technical Articles

August 26, 2025


Zhaoyao Shi



Huiming Cheng




Technical

A Review on Gear Transmission Error

The transmission error (TE) of gear is a fundamental concept in the field of gear transmission engineering. It is utilized in guiding high-performance gear design, characterizing gear quality, analyzing gear process errors and predicting dynamic properties of gears (such as vibration and noise). The definition of TE is relatively simple, yet it encompasses a wealth of implications. Understanding the role of TE is essential; however, more importantly, recognizing its limitations is crucial (Ref. 1). Unfortunately, there has been insufficient research on the shortcomings of TE to date. As a result, when applying the concept of TE, its limitations and deficiencies are often overlooked, leading to conclusions that warrant further discussion.

In the study of TE, there is a widespread belief in the current literature that research on TE began in the 1950s. In 1958, Harris (Ref. 2) introduced the concept of gear TE while studying gear vibration and noise. His work also laid the theoretical foundation for modern TE research. Undoubtedly, Harris’s contributions to TE research are significant, but the above statement requires further investigation. Upon examining the history of gear technology, it becomes clear that there have always been two forces driving TE research: one group consists of researchers engaged in gear quality control and measurement technology, and the other comprises those involved in gear design and dynamics. As early as the 1930s, to control the quality of gear transmission, researchers obtained the single flank composite error, i.e., TE, of a pair of gears through comparative measurement with standard discs, as shown in Figure 1. This achievement then enabled the control of gear transmission accuracy, and the study of TE originated from this very effort (Ref. 3).

Figure 1—The origin of gear single flank testing.
Figure 1—The origin of gear single flank testing.

In 1963, Harris introduced the Harris graph, a graphical representation of the relationship between quasi-static load and TE for modified gears (Ref. 4). This graph aimed to provide a theoretical prediction of load-bearing deformation. During the 1960s, R.G. Munro (Ref. 5) developed an optical-grating instrument for single flank testing, which became the first apparatus to utilize a grating technology for TE measurement. This breakthrough marked a significant advancement in the potential for high-precision dynamic measurement of TE. In 1970, Huang Tongnian from China first proposed the concept of Gear Integrated Error (GIE) and developed the measurement technology for GIE (Refs. 6–8). This technology utilizes a specific multi-start worm to implement single-flank testing, as shown in Figure 2. This innovation represented a significant advancement in TE measurement technology and effectively addressed the limitations associated with TE measurement. Concurrently, in the 1980s, the pursuit of smooth gear transmission led Litvin et al. (Ref. 9) to incorporate TE as an objective function in gear design. This approach sparked new developments in the field of gear design.

Figure 2—Gear integrated error (GIE).
Figure 2—Gear integrated error (GIE).

In 1978, W.D. Mark (Refs. 10–11) introduced the discrete Fourier transform (DFT) method, which allowed the decomposition of TE into elemental deviations of gear. Mark also derived the mathematical expression for TE under low-speed load conditions. Following this, in 1981, Yelle (Ref. 12) developed a mathematical model for cylindrical gear pairs, as depicted in Figure 3, and derived the corresponding mathematical expression for TE. This model accounted for factors such as gear tooth stiffness and pitch deviation. In 1988, J.D. Smith (Ref. 1) identified certain limitations associated with TE. Subsequently, in 2008, as a response to the challenge of TE measurement for fine-pitch gears, Z. Y. Shi proposed the “bidirectional drive synchronous measurement method” for single-flank test of fine-pitch gears (Refs. 13–14).

Figure 3—Model of cylindrical gear pair (Ref. 12).
Figure 3—Model of cylindrical gear pair (Ref. 12).

The development of gears has passed through three stages: geometry, kinematics, and dynamics. The understanding of gears has evolved from “static geometric element” to “moving rigid transmission element,” and then to “dynamically deformed elastic transmission element.” Reviewing the nearly century-long research history of TE, it is found that the understanding of TE also went through three stages: geometric error, kinematic error, and dynamic error. With the widespread application of TE in areas such as gear design, manufacturing error analysis, NVH prediction, and gear pairing, further understanding of TE is particularly urgent. This paper will review the development process, current research status, characteristics, functions, and measurement methods of TE. It will analyze the difficulties and core issues existing in the basic theory of TE, clarify the limitations and deficiencies of TE, and explore ways to overcome the shortcomings of TE.

Concept

Definition

TE refers to the difference between the actual position of the output and the ideal position that the output shaft of a drive would occupy if the drive were perfect (Ref. 15). Further, TE has three basic forms: tangential composite deviation of a gear, TE of a gear pair, and TE of a gear transmission chain.

Share and save:



This article appeared in the August 2025 issue.


Read PDF

[advertisement]

The tangential composite deviation of a gear is equivalent to the TE of a tested gear mated with a master gear (Ref. 16).

The TE of a gear pair represents the difference between the actual position of the driven gear and its theoretical position based on the position of the driving gear. The mathematical expression for the TE of a gear pair can be represented by Equation 1. Among them, θ1(t) and θ2(t) respectively represent the angular displacement of the input and output gears, and z1 and z2 respectively represent the number of teeth of the input and output gears.

(1)

A gear transmission chain refers to a system consisting of multiple gear pairs. In such a chain, TE is defined as the difference between the actual position of the output end gear and its theoretical position based on the input end gear. The mathematical expression for TE of a gear transmission chain is provided in Equation 2 (Refs. 17–19). Among them, TEn is the TE of the nth level transmission, and in-1 is the total transmission ratio of the transmission chain of n pairs of gears.

(2)

The Relationship Between TE and Gear Elemental Deviations

Gears exist in pairs, and TE is a comprehensive representation of the elemental deviations of both the driving and driven gears. However, it is not possible to derive the elemental deviations of the driving and driven gears from the TE of a gear pair. Figure 4 reflects the combination of tooth profile deviations (Ref. 16). In 1969, R.G. Munro (Ref. 20) conducted theoretical and experimental research on single-flank and double-flank testing of gears. Munro also provided composite error curves for single and double testing that correspond to the combination of various tooth profile deviation shapes of involute gears.

Figure 4—Profile deviations combination.
Figure 4—Profile deviations combination.

It is difficult to separate the elemental deviations of gears from the TE curve alone, which means it is impossible to analyze the main factors affecting gear transmission or to clarify the process of TE generation. The GIE measurement technique proposed by Huang Tongnian has solved the above problems. A typical GIE curve is shown in Figure 5, where the TE curve is the outer envelope of the GIE curve. By examining the GIE curve, one can clearly observe the change-over process from 2-pair-teeth contact to 1-pair-teeth contact, distinguish between the 1-pair-teeth contact zone and 2-pair-teeth contact zone, and isolate the elemental deviations, which cannot be achieved through the TE curve alone.

Figure 5—Comparison between GIE and TE.
Figure 5—Comparison between GIE and TE.

Classification of TE

In this study, TE is divided into three main types: static transmission error, quasi-static transmission error, and dynamic transmission error.

Static TE (STE)

STE exclusively considers the impact of geometric errors, such as manufacturing and assembly errors, without considering the influences of loading deformation, vibration, and tooth-pair disengagement. It needs to be measured at low speed and without load, which can be represented by equation (3), where u represents the geometric error of the gear.

[advertisement]

(3)

Quasi-Static TE (QSTE)

The STE varies when the gear is loaded, and this variation depends on the gear’s rotational speed and loading deformation. When the gear bears a load and runs at low speed, the difference between the actual position of the driven gear and its ideal position is referred to as the QSTE. The QSTE considers the effects of manufacturing errors, assembly errors, and loading deformations but does not consider factors such as tooth-pair disengagement. It needs to be measured under low-speed loading and can be represented by formula (4), where L denotes the gear dynamic error.

(4)

Dynamic TE (DTE)

QSTE is measured at low speeds and under load, without considering the impact of acceleration and deceleration on TE during high-speed operation of gears. As the rotational speed increases, the transmission error caused by acceleration and deceleration becomes more apparent and may even lead to the tooth-pair disengagement of the driving and driven gears, resulting in a clash due to disengagement.

Disengagement is divided into hard and soft disengagement. Hard disengagement refers to the situation where the driven gear is suddenly accelerated during tooth shifting, causing the tooth profiles of the driving and driven gears to disengage. Soft disengagement occurs when the driven gear attempts to maintain its original speed due to inertia during deceleration, leading to the disengagement of the tooth profiles. Hard disengagement generally occurs at the point of tooth alternation, while soft disengagement typically occurs during deceleration. As shown in Figure 6, the solid line represents the TE curve, and the dashed line represents the TE curve after disengagement. Soft disengagement is generally easier to occur, while hard disengagement can only happen under certain conditions. Typically, as the gear rotation speed increases, the likelihood of disengagement also increases. As the load increases, the likelihood of disengagement decreases. Due to the impact of disengagement, the continuity of gear transmission is lost.

Figure 6—Detachment impact (Ref. 21).
Figure 6—Detachment impact (Ref. 21).

DTE takes into account the combined effects of geometric error, kinematic error, and dynamic error. It is essential to measure DTE at high speeds in order to obtain a comprehensive understanding of the transmission system’s behavior. It can be represented by formula (5), where η represents gear kinematic error.

(5)

Composition of TE

Sources of TE

TE can arise from various sources, primarily categorized into five aspects:

  1. Manufacturing Errors: These arise from various inaccuracies in the manufacturing process system, including tools, machine tools, workpiece fixtures and so on.
  2. Assembly Errors: Gears are mounted on shafts within a housing, supported and fixed by bearings. Assembly errors primarily reflect eccentric mounting and parallelism issues with the axis.
  3. Elastic Deformation: Under load, gears undergo elastic deformation, causing one gear to rotate slightly relative to another, leading to transient changes in the meshing position during transmission.
  4. Thermal Deformation: As gears operate, temperature rise occurs, resulting in thermal deformation that disrupts the original involute tooth profile. This causes instability in the direction of force transmission and variability in the gear ratio, affecting motion smoothness.
  5. Gear Disengagement: Due to gear deviations, there can be instances where the tooth profiles lose contact, leading to impacts from disengagement.

Contact Point Motion

Gear Pair Without Errors

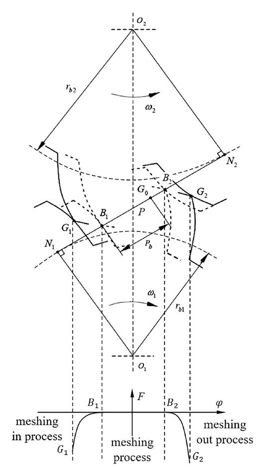
Gear transmission operates by utilizing the interaction between the teeth of the driving gear and the teeth of the driven gear. This process entails the sequential engagement of the conjugate tooth surfaces. Figure 7 illustrates the meshing process of involute cylindrical gears, where two involute gears (labeled as o1 and o2) rotate around their respective fixed axes. o1 represents the driving gear and o2 represents the driven gear, and the base circle radii are rb1 and rb2, respectively. P is the pitch point. As gear o1 drives gear o2, the path of moving of contact point of the conjugate tooth surfaces is the line of action B1B2. The driving gear transfers motion and force to the driven gear by their interaction, along the direction of the line of action (Refs. 22–23).

Figure 7—The meshing process of involute gears.
Figure 7—The meshing process of involute gears.

During the transmission cycle of a pair of teeth, the contact point starts from the point G1, and the meshing sequence is G1B1, , and B2G2. The G1B1 segment represents the entry stage, which is the edge contact section of the driven gear, where the contact point moves from the tooth mid to the tooth root on the tooth surface of the driving gear. The B2G2 segment is the exit stage, which is the edge contact section of the driving gear, with the contact point moving from the tooth root to the tooth mid on the driven gear’s tooth surface. For involute spur gears, the GIE curve during the edge contact segment is parabolic. The segment illustrates the normal involute contact process, corresponding to the middle smooth section on the GIE curve, where the contact point moves from the tooth root along the involute to the tooth tip on the driving gear’s tooth surface, and from the tooth tip along the involute to the tooth root on the driven gear’s tooth surface.

Gear Pair with Errors

Figure 8 illustrates the meshing phase of a pair of gears. The driving gear is perfect, while the driven gear exhibits a positive base pitch deviation Δfpb, with the driving gear rotating at a constant speed. In this case, the driving and driven gears cannot directly enter the involute meshing segment, resulting in the meshing process EA2 shown in Figure 8. In the EA2 segment, the contact point first appears at point E, and then moves from point E to point A2 on the tooth surface of the driving gear. Starting from point A2, it enters the involute contact section, where the contact point gradually moves from the tooth root to the tooth top on the driving gear tooth surface.

As depicted in Figure 8, for the driving gear, the radius of point E exceeds the radius of point A2. This procedure signifies a transition from the tooth apex to the tooth root direction, constituting the meshing process of the upper edge of the driven gear.

Figure 8—Gear meshing process with positive base pitch deviation.
Figure 8—Gear meshing process with positive base pitch deviation.

The process mentioned above corresponds to the TE curve shown in Figure 9. By taking the first and second derivatives of the TE curve, we can obtain the velocity error curve and acceleration error curve, respectively. The entry impact point marked λ plays a significant role in these calculations. At that point, the driven gear experiences the greatest change in rotational speed, with a jump occurring at this point. Theoretically, the acceleration is infinitely large at this moment; however, due to damping and elastic deformation, a pulse is formed.

Figure 9—TE curve of gear with positive base pitch deviation.
Figure 9—TE curve of gear with positive base pitch deviation.

Gear Pair Under Load

Figure 10 displays the GIE curve of a perfect gear pair. During light load transmission, there is no error, as indicated by the non-fluctuating portion of the TE curve in the figure. However, when the gear pair bears the load, the teeth of the gears bend, causing the TE curve to sink as a whole. This leads to the driving gear moving backward and the driven gear moving forward, as depicted by the red curve in the figure.

Under the action of load, the dynamic performance of a perfect gear pair deteriorates. On one hand, the driven gear tooth tip enters into contact with the driving gear tooth root ahead of time in the meshing process, causing meshing-in impact; on the other hand, after the ideal meshing is interrupted, the driving gear tooth tip still contacts the driven gear tooth root, causing meshing-out impact when they separate. Due to the meshing in and out impacts, the gear speed loses continuity and fluctuates, resulting in degraded performance of the ideal gear.

Figure 10—TE curve of a perfect gear pair under load.
Figure 10—TE curve of a perfect gear pair under load.

Gear Pair with Modified Flank

The case of an ideal gear is shown in Figure 11, where the corresponding GIE curve is smooth and straight, without any meshing-in and -out impact. When the gear is under load, tooth deformation disrupts smooth transmission, causing meshing-in and -out impacts. To achieve good transmission performance, gear modification is often employed to avoid meshing-in and -out impacts. Typically, the tooth surface is modified to a crowning shape, as shown in Figure 12. The key issue in gear modification is the control of the modification curve and the amount of modification. When the gear is loaded and if the amount of modification is less than the amount of deformation, meshing-in and -out impacts still occur, as shown in Figure 13.

Figure 11—The smooth process of ideal gears.
Figure 11—The smooth process of ideal gears.

 

Figure 12—The smooth change-over process of the crowning profile.
Figure 12—The smooth change-over process of the crowning profile.
Figure 13—The nonstationary change-over of the crowning profile.
Figure 13—The nonstationary change-over of the crowning profile.

Functions and Limitations

Functions

Guidance Design

In gear design, TE curves are commonly employed as a reference for design guidance, particularly in the modification and utilization of high-order polynomial functions of transmission error (H-TE) (Refs. 24–27). The concept of H-TE was originally developed for spiral bevel gears, where the transmission function ideally exhibits linearity. However, due to assembly errors, the transmission function becomes piecewise linear, resulting in a larger amplitude of geometric transmission error at the tooth pair transition point. This adversely affects the dynamic performance of the gear and can lead to meshing apart in severe cases, as depicted in Figure 14.

Figure 14—Piecewise linear function of TE.
Figure 14—Piecewise linear function of TE.

Litvin et al. (Ref. 9) addressed the linear transmission error resulting from assembly errors by introducing a TE parabolic function, as depicted in Figure 15. With this approach, the angular velocity jump at the tooth pair transition is reduced, thereby mitigating the impact. Compared to second-order transmission error functions, higher-order transmission error functions exhibit a lower steepness at the transition point of the meshing cycle, as evident from the mathematical expression of the curve. Consequently, the amplitude at the transition point is minimized, which helps to diminish the impact. From a strength perspective, less material is removed from the tooth surface, alleviating the reduction in tooth strength. In the past, achieving the tooth surface of H-TE through traditional machining methods posed challenges. However, with the increasing maturity of intelligent control technology in CNC machine tools and greater flexibility, numerous scholars are exploring machining methods for H-TE.

Figure 15—Parabolic transmission function.
Figure 15—Parabolic transmission function.

Process Error Analysis

Gear machining errors can stem from various factors (Refs. 28–30), and based on their manifestation, they can be classified as follows, as illustrated in Figure 16.

Figure 16—Gear machining errors and their causes.
Figure 16—Gear machining errors and their causes.

TE has found extensive application in the analysis of process errors. A single flank testing is used to obtain the TE curve of the tested gear, which is then subjected to order analysis using Fourier transform FFT (or finite Fourier transform DFT). Several researchers have made significant contributions to understanding the causes of the TE spectrum and its various spectral components.

Figure 17 presents the TE curve of a gear exhibiting radial runout due to eccentricity in the machine tool. The order analysis revealed the presence of eccentricity, with a larger amplitude observed in the first order and the appearance of side frequencies near other prominent orders. These findings suggest the existence of errors on the gear teeth as a likely cause.

Figure 17—TE curve with radial runout and order analysis.
Figure 17—TE curve with radial runout and order analysis.
Figure 18—TE curve with pitch deviation and order analysis.
Figure 18—TE curve with pitch deviation and order analysis.

The spectrum diagram also reveals the presence of ghost frequencies, which are orders that are not multiples of the number of gear teeth. These ghost frequencies arise from various machining errors, making it challenging to pinpoint their main source. Figure 18 illustrates the TE curve of a gear with Z teeth, displaying prominent orders such as Z, 2Z, 3Z, 4Z, 5Z, and 6Z. However, numerous ghost frequencies are observed between these orders.

Practical applications of TE analysis often involve the examination of eccentricity, which represents long-period errors. However, it is challenging to separate elemental errors, which correspond to short-period errors, due to the presence of kinematic errors in TE.

Accuracy Characterization of Transmission Chains

TE is a robust indicator encapsulating the comprehensive attributes of a transmission system, making it the optimal parameter for characterizing the accuracy of the transmission chain. The TE in a machine tool’s transmission chain is a holistic precision index receiving extensive attention from academic circles both nationally and internationally over numerous years. Beginning in the 1950s, notable scholars, including K. Stepanks (Refs. 17–19), Qin et al. (Ref. 31), and Peng et al. (Ref. 32), have invested considerable effort in exploring the detection principles, methodologies, and equipment for assessing TE in machine tool transmission chains.

The gear hobbing process is broadly utilized in gear manufacturing, with a typical gear hobbing machine tool depicted in Figure 19. The generative motion correlation between the hob and the workpiece is ensured by the machine tool’s transmission chain. In this context, errors in the transmission chain directly implicate the machining accuracy of the gear hobbing tool, culminating in workpiece gear issues like tooth pitch error and tooth shape error. This can even instigate vibrations during the hobbing process (Refs. 33–34).

Figure 19—Gear hobbing machine tool structure.
Figure 19—Gear hobbing machine tool structure.

Figure 20 demonstrates the measurement principle for TE within the hob machine tool’s transmission chain. Both the hob shaft and the end of the workbench are fitted with circular gratings B and C, respectively. As the workbench and hob shaft rotate, the two circular gratings produce sinusoidal signals. An interpolator, also known as a subdivision box, processes and subdivides these two signals. The digital signal acquisition card then detects the falling edge of the two signals. Subsequently, a calculation program reads the count values and computes the rotation angles of both the hob shaft and the workbench. This ultimately allows for the determination of the transmission chain’s TE. Beyond just machine tools, accurate TE measurement is also imperative for precision transmission machinery like observatories, radars, weapon systems, and printing machinery. This is necessary to ensure the transmission chain’s quality and precision. Once the TE of the transmission chain is obtained, it becomes necessary to trace and compensate for any identified error.

Figure 20—Measurement principle of TE for transmission chain of hobbing machine tools.
Figure 20—Measurement principle of TE for transmission chain of hobbing machine tools.

Performance Prediction

With the advancing electrification of the automotive industry, electric vehicles demand higher standards for noise, vibration, and harshness (NVH) in their transmission systems. In traditional internal combustion engine vehicles, the engine noise eclipses that of the gearbox, thereby reducing the need for stringent control of gearbox noise. However, in electric vehicles, the gearbox becomes the primary source of noise. This noise becomes even more critical as motor speeds in newer electric vehicles reach or exceed 30,000 rpm, necessitating effective control over gearbox noise and setting standards for individual gear noise levels.

TE stands as a crucial metric for quantifying gear noise levels. By charting the TE curve of a singular gear and carrying out order analysis, the noise level of the gear can be assessed (Refs. 35–36). Gear transmission noise originates from two key sources: firstly, the noise generated by impacts during the alternate meshing transmission of crossing teeth, which predominantly contributes to high gear noise, and secondly, resonances caused by gear rotation due to eccentricities and other long-term errors. An inspection of the TE curve alone does not allow for the identification of the single and double meshing zones. Therefore, when employing the TE curve to predict gear transmission noise, only resonance-generated noise can be analyzed, while impact noise remains unpredictable.

Currently, the state-of-the-art technique for predicting gear noise both domestically and globally involves assessing gear noise levels by analyzing gear surface waviness, which fundamentally employs TE (Refs. 37–38). The red curve in Figure 21 is derived by aligning the tooth profile deviation of each tooth on the gear with the rotation angle and tooth pitch. The blue line is produced by the gear’s radial runout, and the ripples on the tooth surface are clearly visible in the figure. This ripple is precisely what gives rise to the gear’s noise characteristics. An order analysis and separation are then performed on the curve shown in Figure 21.

Figure 21—TE from profile deviations and Fourier analysis.
Figure 21—TE from profile deviations and Fourier analysis.

Limitation

Five primary constraints and shortcomings associated with TE can be delineated as follows:

  1. TE is composed of geometric errors, kinematic errors, and dynamic errors. The low-frequency components are mainly due to geometric and assembly errors, while high-frequency components encompass all three types of errors. Therefore, it is not feasible to infer the geometric error components of gears from the measurement results.
  2. The TE measurement outcomes are not full and fail to completely encapsulate the transmission attributes of gears. When the gear is being tested with a master gear, only a part of the tooth profile (where the contact ratio is less than 1) is inspected. Meanwhile, the unexamined segments often emerge in actual transmission operations under specific gear pair error amalgamations.
  3. The TE curve represents aggregate data that does not distinguish which gear teeth are meshing and cannot differentiate between single and double contact zones. This results in a knowledge gap concerning the influence of meshing impacts on transmission and a lack of further comprehension of TE.
  4. Merely observing the TE curve makes it impossible to discern the change-over form of tooth-pair during gear transmission; identical TE curves can produce completely different effects.
  5. The existing dynamic equations for gear transmission superimposed with transmission errors cannot reflect the differences between double and single contact zones.

Overcoming TE Defects: Gear Pair Integrated Error (GPIE)

  1. In contrast to transmission error, the gear integrated error inherent in a gear pair carries more comprehensive error data. Not only can it evaluate the transmission quality of the gear pair, but it can also scrutinize which tooth surface or surfaces are the source of the error. It allows for an exploration of how the errors from two pairs of teeth engaged in meshing reciprocally affect the transmission quality in the double meshing zone. This enhances the control over the transmission quality of the gear pair and lays a foundation for adjustments in gear technology and enhancements in gear design.
  2. The integrated error of a gear pair consolidates the collective errors of the primary and driven gears. This not only exhibits the outcome of the interaction between the primary and driven gear errors during the meshing process but, more significantly, reflects the nature and progression of this interaction. It especially illuminates the alternating process of the meshing teeth.
  3. The integrated error of a gear pair intimately merges the geometric error of the driving and driven gears with the kinematic error of the gear pair. It can unveil the actual contact process of gears with errors and the influence of gear geometric error on transmission quality.
  4. By employing the overall error of gear pairs, the direction of error changes post gear loading can be investigated. Coupled with dynamics, it enables the study of gear impact, subsequently predicting dynamic gear characteristics such as vibration and noise.

Conclusion

Research on TE has a history of nearly a hundred years. TE is widely used in characterizing the quality of gear transmission, analyzing the dynamic characteristics of gears (vibration, noise, etc.), gear pairing, and guiding the design of high-performance gears. Although TE seems simple, it encompasses a plethora of intricate manufacturing operations, elastic deformations, energy conversions, energy transfers, and issues related to motion control. This paper provides a summary of the mechanisms, features, functions, and measurement methods of TE and, importantly, elucidates its limitations and drawbacks. The article suggests that the path to circumvent the drawbacks of TE is through the integrated error of the gear pair. This integrated error of gear pair represents a further evolution of TE. By investigating other gear-related issues, a series of results that were previously challenging to attain can be acquired, thereby offering a novel pathway for the future evolution of TE.

References

  1. Smith, J.D., 1988, “The Uses and Limitations of Transmission Error,” Gear Technology, 5(4), pp. 34-39.
  2. Gregory R.W., Harris S.L., Munro R.G.1958, “Dynamic behaviour of spur gears,” Proc. Instn Mech. Engrs., 172, 87–101.
  3. Shi, Z.Y., Fei, Y.T. and Xie, H.K., 2003, “100 Years of Gear Measurement Technology-Review & Prospect,” Eng. Sci., 5(9), pp. 13-17.
  4. Smith, J.D., 1999, Gear noise and vibration, CRC press.
  5. Munro, R.G., 1968, “Measuring Gear Transmission Error,” Metalworking Prod., pp. 54-57.
  6. Huang, T.N., 1973, “Gear Dynamic Composite Error and Its Measurement Method,” Sci. China, 17(4), pp. 434-453.
  7. “The Gear Measurement Technology in China Reached World Level,” People’s Daily. 1978, 03 15(2).
  8. Huang, T.N., 1989, “The Development of Gear Integrated Error Measurement in China,” Proceedings of Inter Conf of Gearing, Zhengzhou, China, pp. 25-31.
  9. Litvin F L, Fuentes A, 1994, Gear geometry and applied theory, Cambridge university press.
  10. Mark, W.D., 1978, “Analysis of the Vibratory Excitation of Gear Systems: Basic Theory,” J. Acoust. Soc. Am., 63(5), pp. 1409-1430.
  11. Mark, W.D., 1982, “The Transfer Function Method for Gear System Dynamics Applied to Conventional and Minimum Excitation Gearing Designs,” NASA, from: https://ntrs.nasa.gov/api/citations/19830003225/downloads/19830003225.pdf
  12. Yelle, H., Burns, D.J., 1981, “Calculation of Contact Ratios for Plastic/Plastic or Plastic/Steel Spur Gear Pairs,” Transactions of the ASME., 103, pp. 528-542.
  13. Shi, Z.Y., Zhang, W.N. and Qu, H.F., 2011, “Development of Measuring Machine Based on Single-Flank Testing for Fine-Pitch Gears,” Chin. J. Sci. Instrum., 32(4), pp. 913-919.
  14. Shi, Z.Y., Qu, H.F. and Zhang, W.N., 2011, “Design of Single-Flank Rolling Tester for Fine-Pitch Gears,” J. Beijing Univ. Technol., 37(4), pp. 486-486.
  15. Munro, R.G., 1990, A Review of the Theory and Measurement of Gear Transmission Error, IMechE.
  16. “ISO 1328-2:2020 Cylindrical Gears—System of Accuracy—Part 1: Definitions and Allowable Values of Deviations Relevant to Corresponding Flanks of Gear Teeth.”
  17. Stepanek, K., 1966, Accuracy of Gear Cutting and Finishing Machines, Czechoseovak heavy industry.
  18. Stepanek., K., 1969, “New Methods and Apparatus for Measurement of Gear Transmission,” Advances in Machine Tool Design and Research, pp. 203-214: Elsevier.
  19. Stepanek, K., 1971, “Imo” Equipment and Instrument of Kinematic Accuracy of Gear Drives and Gears, Czechoseovak heavy industry.
  20. Munro, R., 1969, “Effect of Geometrical Errors on the Transmission of Motion between Gears,” Proc. Inst. Mech. Eng., London, England, pp. 79-84.
  21. Gong, X., 1981, “Analysis and Calculation on the Effects of Gear Base Pitch Error on Meshing Impact,” J. Shenyang Univ. Technol., (2), pp. 89-94.
  22. Shi, Z.Y., Kang, Y. and Lin, J., 2010, “Comprehensive Dynamics Model and Dynamic Response Analysis of a Spur Gear Pair Based on Gear Pair Integrated Error,” Chin. J. Mech. Eng., 46(17), pp. 55-61.
  23. Shi, Z.Y. and Kang, Y., 2012, “Gear Pair Integrated Error and Its Measurement Method,” J. Tianjin Univ., 45(2), pp. 128-134.
  24. Stadtfeld, H.J. and Gaiser, U., 2000, “The Ultimate Motion Graph,” J. Mech. Des., 122(3), pp. 317-322.
  25. Su, J., Fang, Z. and Cai, X., 2013, “Design and Analysis of Spiral Bevel Gears with Seventh-Order Function of Transmission Error,” Chin. J. Aeronaut., 26(5), pp. 1310-1316.
  26. Cao, X.M., Deng, X.Z. and Nie, S.W., 2015, “Ease-Off Flank Topography Design for Aviation Spiral Bevel Gears with Higher-Order Transmission Errors by Modification of Conjugate Flank,” J. Aerospace Power, 30(1), pp. 195-200.
  27. Shi, Z.Y. and Zhang, X., 2008, “The Development and Application of Gear Single-Flank Testing Technology,” Tool Eng., 42(3), pp. 10-15.
  28. Yagishita, H., 1990, “Method for Measuring the Dynamic Transmission Error in Large Gear Hobbing Machines,” Precis. Eng., 12(3), pp. 144-150.
  29. Remond, D. and Mahfoudh, J., 2005, “From Transmission Error Measurements to Angular Sampling in Rotating Machines with Discrete Geometry,” Shock Vib., 12(2), pp. 149-161.
  30. Zhao, M., Lin, J., Wang, X. and Liao, Y., 2011, “Dynamic Transmission Error Analysis for a CNC Machine Tool Based on Built-in Encoders,” 2011 IEEE International Symposium on Assembly and Manufacturing (ISAM), pp. 1-5.
  31. Qin, S.R., Gao, D. and He, W., 1994, “The High Speed and Miniature System for Measuring Dynamic Accuracy of Drive Chain,” J. Chongqing Univ., (4), pp. 1-5.
  32. Peng, D.L., Zhang, G., Guo, X. and Guo, S., 1993, “The Development of Fmt System for Measuring Motion Property of the Drivetrain,” J. Chongqing Univ., (1), pp. 52-57.
  33. Li, K.K., Bian, Y.S. and Liu, B.D., 2014, “Transmission Error Analysis of External Gear Drive Based on Form and Position Errors,” Applied Mechanics and Materials, 614, pp. 36-39.
  34. Lin, T. and He, Z., 2017, “Analytical Method for Coupled Transmission Error of Helical Gear System with Machining Errors, Assembly Errors and Tooth Modifications,” Mech. Syst. Signal Process., 91, pp. 167-182.
  35. Willecke, M., Brimmers, J. and Brecher, C., 2021, “Virtual Single Flank Testing–Applications for Industry 4.0,” Procedia CIRP, 104, pp. 476-481.
  36. Sun, M., Lu, C., Liu, Z., Sun, Y., Chen, H. and Shen, C., 2020, “Classifying, Predicting, and Reducing Strategies of the Mesh Excitations of Gear Whine Noise: A Survey,” Shock Vib., 2020, pp. 1-20.
  37. Jian, L., Zhaobing, W., Hongji, W. and Chiping, C., 1987, “Single Flank Total Composite Error Analysis and Noise Prediction of Gears,” Precis. Eng., 9(2), pp. 83-90.
  38. Kahnenbley, T. and Gravel, G., 2019, “Gear Standards for Reliable Measurement of Noise-Causing Tooth Flank Ripples Quick Verification of the Measurement Precision,” Forsch. Ingenieurwes. Eng. Res., 83(3), pp. 537-543.
[advertisement]